
IN CONSTANT use at the present moment there are twelve cables to the United States, three to India, three to Australia, two to New Zealand, three to South America, three to Africa, and almost the entire coastline of Europe, Asia. Africa, and America is looped round with these submerged telegraphs.
A submarine cable consists of a number of copper wires, called the conductor; a coating of gutta-percha, called the insulator; and a covering of jute, and a number of twisted steel wires, called the sheathing.
The first thing done is to lay up the plain copper wires, which are of the finest quality, into a strand; this is then covered with a thin layer of Chatterton's Compound, so that the subsequent covering of gutta-percha may adhere closely to it. The strand is then passed through a heated vessel which contains purified gutta-percha, while from a nozzle proceeds a continuous cylindrical envelope also of gutta-percha.
When this has cooled off, the "core," as it is called—that is, the copper strand in the gutta-percha envelope—is wound on drums, taken to the tank house, submerged in water at various temperatures, and is finally tested electrically so as to make certain that there is no hole or fissure in the gutta-percha covering.
The core then goes over to the cable shop, where it is covered first of all with jute yarn. This is accomplished by passing it centrally through a revolving frame carrying a number of bobbins filled with yarn. As the core passes straight through, and the bobbins revolve round it, the yarn is laid spirally round the core.
The sheathing machine now comes into play, and the core, thus "served," passes through the hollow axle of the circular frame carrying bobbins filled with steel wire; this frame revolves, and, as it does so, lays the wires round the covered core. Then a layer of bituminous compound is put on, next, a layer of jute, then a second layer of compound. and another of jute put on in the reverse direction to the first; and so on, the sheathing varying in type, with the depth of water in which the cable is to be laid.
The sheathing may consist of as many as seven types, increasing in strength and protective power as the shallow water is approached. A small cable is all that is necessary in the ocean depths ; it is in the shallow waters, on the rocks, and on the shore-lines generally that the heaviest and strongest parts of the cable have to be used.
Our illustrations on page 325 show the sub-marine telegraph cable with the various layers stripped, and four types of cable, the smallest disc being a section of a deep sea cable for use at the greatest ocean depths ; the next disc, a deep sea cable also, but employed at lesser depths; the third is what is known as an intermediate cable; the largest of all is the shore-end cable.
When the cable has been completed in the workshops it is coiled away in large circular tanks full of water, where it remains until the cable-ship is ready to take it on board.
Having thus, as it were, made our cable, which, I am assured, is of the very latest and best pattern, we may now proceed to lay it. And we cannot do this in any better fashion than by getting on board the well-known cable-ship of Messrs. Siemens, the Faraday, an illustration of which vessel is given on this page.
The cable-ship is fitted with several large tanks in her hold, which are similar to those in the tankhouse at the cable works, and as the cable is drawn out of the land tanks it is coiled away in the ship tanks, being whitewashed at the same time to prevent the successive layers from sticking together.
When the ship is at sea, the cable runs out over a large pulley at her stern, having to pass on its way from the tank over and under several retarding wheels, then round a large brake wheel, by means of which the speed at which it runs out can be regulated, and then under a dynamometer, an apparatus for indicating the amount of strain which the cable is subjected to at any moment, and also to enable the man in charge of the brake wheel to regulate the amount of strain put on by the brake to suit the varying conditions of laying.
When all the cable which the ship has been carrying—of course, you must understand we are not laying for PEARSON'S MAGAZINE any one-horse cable, but a transatlantic one at least, so that the Faraday will have to make two trips at any rate, if not more, to complete the business—has been laid, the end is carefully sealed up, and having been attached to a rope is lowered to the bed of the ocean ; a buoy is attached to the other end of the rope, and is left floating on the surface of the water to mark the position of the end of the cable. During the whole time that the cable is being manufactured and laid electrical tests are continuously taken, so as to make sure that everything is in order.

The actual time taken by the Faraday in laying the Atlantic cable of 1894 was only twenty days, and this, in spite of the fact that on two occasions considerable time was spent in grappling for the cable, the end of which had broken away from the buoy, and so it had to be literally fished for and brought up to the surface.
It may be interesting here to note the various depths of the Atlantic Ocean at which this cable is lying. Two or three hundred miles from the coast of Ireland the sea-depth is about a thousand fathoms, then, going westward, not many miles from this, the bottom varies till 2290 fathoms' depth is reached, over three miles deep. Next you can imagine a series hills and valleys, deep gorges and immense plateaux, the deepest valley being more than 3000 fathoms in depth; that is, not far short of four miles, until the coast of Nova Scotia is reached, or the shallow waters of the Newfoundland banks.
It will be asked what happens if a submarine cable becomes broken or damaged, as, for instance, when some storm - driven vessel may drag its anchors across a cable and so break it. It may, however, be noted here that the cable companies furnish accurate charts of the path of the cable, and guarantee payment for anchors, chains and ropes, which masters are encouraged to abandon rather than attempt to release at the risk of injuring the cable.
A break or "fault" having occurred, steps are taken to ascertain its position. The "conductor" of the cable offers a certain "resistance" to the passage of the electric current, and an apparatus has been devised for measuring the amount of this resistance. The exact resistance per nautical mile of the conductor of any given cable is known to the electricians in charge.
Resistance practically ceases at the point where the conductor makes considerable contact with the water; therefore, supposing the known resistance per nautical mile to be two ohms (the ohm is the term used technically as the unit of resistance), and the measuring apparatus indicates the total resistance of 800 ohms, the position of the break will be 400 miles from the shore.
Each of the great cable companies has a cable repair steamer or several steamers,* and when the captain of one of these obtains information from the electrician of the whereabouts of the break in this manner, he is able to determine by his charts of the course of the particular cable the latitude and longitude in which the break has occurred, and can proceed with certainty to effect the repair.
*Thirty-eight specially constructed and equipped ships, having an aggregate tonnage of 59,292 tons, are employed in laying and keeping in repair the world's telegraph cables.

Having found the place, which he will certainly do with extraordinary exactness, he first of all drops overboard and anchors a mark buoy (here illustrated) — a conical, flat-bottomed, hollow vessel, built of one-quarter inch or three-eighth inch steel. The ship leaves the buoy, and steams away to a convenient distance from the supposed broken end of the cable ; a heavy iron grapnel is lowered, and the ship steams back at right angles to the line of the cable.
There are different grapnels, but all have the same general features. Our illustration shows what these are sufficiently well without further description. As the ship steams across the line of cable the iron fingers of the grapnel rake the bottom of the sea, and the strain indicated on the dynamometer gives notice when something is seized. If the indications are somewhat erratic, the grapnel is probably only tickling rocky projections or other unevennesses, but if the strain steadily increases the cable has been caught. The ship is stopped, the hauling-in machinery set to work, and in due course the grapnel, holding the cable, appears.
A similar process is gone through with regard to the other end of the broken cable, and, finally, after some more manoeuvring which it is unnecessary to describe in full, the two ends are spliced, tests applied, and, everything being found "O.K.," telegraphic communication is once established from shore to shore.
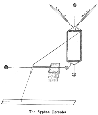
Submarine telegraphy, as distinguished from land, or perhaps I should rather call it aerial telegraphy, has its own special difficulties—difficulties, however, which have led to the invention of at least one instrument which is probably the most delicate in the world—that is the "Syphon Recorder," an invention of Lord Kelvin.
In 1858, Lord Kelvin patented the Mirror Galvanometer, an instrument which told its message by flashes of light; in 1867, he produced the Syphon Recorder; without these two inventions ocean telegraphy would be impossible. They were made for the Atlantic service, and remain to this day the instruments best adapted to the requirements.
The Syphon Recorder, which is an improvement on the Mirror Galvanometer, consists essentially of a rectangular coil containing many turns of extremely fine, silk-covered wire, suspended between the poles of a powerful magnet, and of a fine glass tube, of about the thickness of a coarse hair, bent into the form of a syphon, and so attached to a very fine stretched wire that it may be free to move backwards or forwards as directed by the movements of the rectangular coil above mentioned, and to which it is attached by an almost invisible fibre of raw silk.
The higher leg of the syphon dips into a small trough of specially prepared ink, whilst past its lower end is drawn by a suitable motor a continuous tape of white paper, along the middle of which, when the syphon is at rest, is thus traced a fine, clear line.
In order to avoid friction between the end of the syphon and the paper tape, which would impede the movements of the delicately suspended coil, the syphon is vibrated rapidly to and fro upon the paper by an electrical machine or vibrator, resulting in its tracing a dotted instead of an absolutely continuous line.
So delicate is the work of this instrument that I am told the presence of a considerable number of flies last summer in the receiving room of one of the cable companies so interfered with the receipt of messages, owing to the flies settling on various parts of the recorder, that business for a time was at a complete standstill.
The pencil of the syphon responds to and multiplies every movement of the coil, and leaves on the ribbon an inky trail which is an exact and permanent record of movements of the coil under the influence of the currents from the cable.
An illustration is given showing the cable alphabet, as traced by the pencil of the recorder.

In transmitting messages, what is known as the Automatic Sender is used. Motion is imparted to the transmitter by means of a weight, and the electrical contacts are controlled by a paper ribbon perforated with three rows of holes. The upper and lower rows determine the polarity of the current sent into the cable. The middle row engages a star wheel, by which the ribbon is drawn along.
On the next page are shown, on a reduced scale, facsimiles of the following message: "The first number of Pearson's Magazine was published January, 1896," as it appears first on the Automatic Sender, and then as it is written by the Syphon Recorder. For these illustrations I am particularly indebted to the Commercial Cable Company.

The capital invested in sub-marine cables to-day is between forty and fifty million pounds sterling.
The total cable mileage is at present not far short of one hundred and sixty thousand nautical miles, by far the greater part of which has been laid by private enterprise.
With regard to the rate of speed in the transmission of messages I will give two instances : The Anglo-American Company sent a message, at the instance of the Arrangements Committee for the jubilee of Lord Kelvin, consisting of twenty-four words, round the whole of their system, traversing a circuit of about twenty thousand miles in seven minutes and a half.
In 1891, experiments were made at McGill University, Montreal, to determine the exact longitude of that city and other points on the Atlantic seaboard, and in order to work out the calculations it was necessary to ascertain the precise time it took for a telegraphicsignal to cross the Atlantic. The signal was flashed from Montreal to Greenwich and back, a distance of 8000 miles, in one second, over the lines of the Commercial Cable Company.
The longest single message any company has sent, so far as I can hear, consisted of 12,000 words, and the subject, curiously enough, was a poem by Swinburne, which an enterprising New York newspaper published in its news columns on the day of the appearance of the poem in England.
The following is a copy of the first message sent across the Atlantic cable on August 17th, 1858 :-
Europe and America are united by telegraph. Glory to God in the highest, on earth peace, good will towards men.

Special thanks to Roger Todd for bringing this article to my attention - Marcus L. Rowland